В предыдущем сообщении текст комментария почему-то не видно...
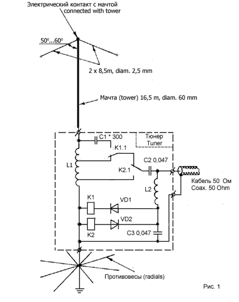
Электрическая схема антенны и согласующего будет похожа на известную многим белорусско-немецкую схему :) , но отличаться по многим параметрам, поэтому антенна будет a-la RU4I,в смысле со своими особенностями.
Вложение 1822

