days of activity 01-10
Показано с 1 по 6 из 6

Тема: BALUN и иже с ним....

  1. #1
    Супер модератор Аватар для R3KEE
    Регистрация
    17.11.2016
    Позывной
    R3KEE
    QRA loc
    KO91oh
    Сообщений
    2,184

    BALUN и иже с ним....

    на соседнем форуме подсмотрел:

    Цитата Сообщение от ru0aog
    ...
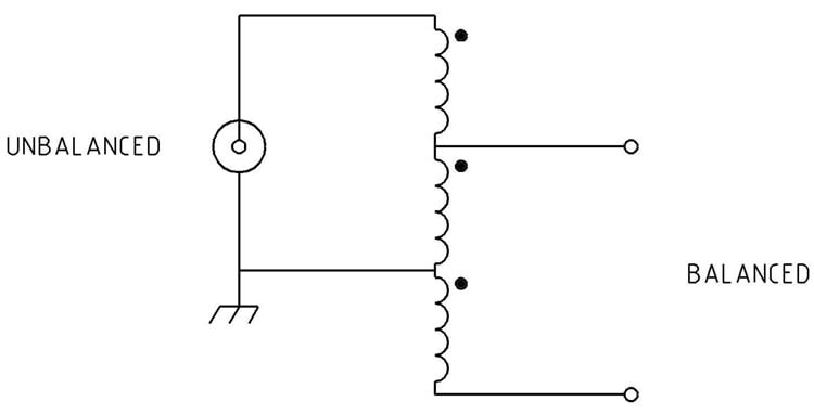
    А вот с балуном возникли некоторые сложности.

    Понятно, что в исполнении Inverted-V входное сопротивление полуволнового диполя будет близко к 50 Омам.
    Так что балун нужен 1:1.
    Непонятно другое - этих балунов множество разновидностей.
    Как минимум:
    - двухобмоточный балун
    photo_2023-06-30_16-15-02.jpg

    balun_choke_balun_low_vhf_image01.png
    - трёхобмоточный балун
    photo_2023-06-30_16-15-07.jpg

    balun_1-1_image2.png
    73. Roman.

  2. #2
    Супер модератор Аватар для R3KEE
    Регистрация
    17.11.2016
    Позывной
    R3KEE
    QRA loc
    KO91oh
    Сообщений
    2,184
    Продолжаем

    Цитата Сообщение от ru0aog
    Проблема выбора осложняется противоположными требованиями к сердечникам этих балунов:
    - если двухобмоточный балун как правило мотается коаксиальным кабелем на ферритовом кольце высокой проницаемости
    photo_2023-07-01_18-55-08.png

    - то трёходмоточный балун мотается линией на сердечнике низкой проницаемости
    balun_1-1_image5.jpg

    Разобраться во всём этом помогла статья Гончаренко
    http://dl2kq.de/ant/3-127.htm
    и
    http://vk6ysf.com/balun_1-1.htm
    http://vk6ysf.com/balun_guanella_current_1-1.htm
    73. Roman.

  3. #3
    Супер модератор Аватар для R3KEE
    Регистрация
    17.11.2016
    Позывной
    R3KEE
    QRA loc
    KO91oh
    Сообщений
    2,184
    Все статьи по вышеуказанным ссылкам в формате PDF:
    Вложения Вложения
    73. Roman.

  4. #4
    Супер модератор Аватар для R3KEE
    Регистрация
    17.11.2016
    Позывной
    R3KEE
    QRA loc
    KO91oh
    Сообщений
    2,184
    Еще один балун.
    и интересная конструкция аттенюатора, ну и таблица с сопротивлениями для аттенюации на 1, 3, 5, 10,... db
    Вложения Вложения
    73. Roman.

  5. #5

  6. #6
    Поддержка форума Аватар для RW6AVK
    Регистрация
    22.06.2014
    Позывной
    RW6AVK
    QRA loc
    KN95la
    Сообщений
    658

    Fan-Dipoles

    Просто и сердито. Ссылочка что б не потерялась.
    https://www.qsl.net/dk7zb/Wire-Antennas/fandipoles.htm
    Вложения Вложения
    Vladimir

Ваши права

  • Вы не можете создавать новые темы
  • Вы не можете отвечать в темах
  • Вы не можете прикреплять вложения
  • Вы не можете редактировать свои сообщения
  •