В предыдущем сообщении текст комментария почему-то не видно...
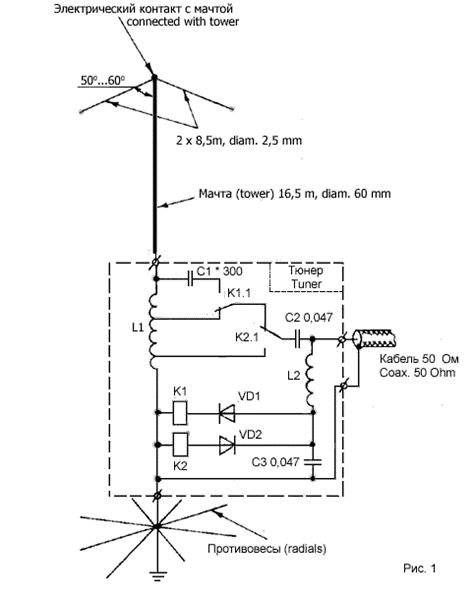
Электрическая схема антенны и согласующего будет похожа на известную многим белорусско-немецкую схему, но отличаться по многим параметрам, поэтому антенна будет a-la RU4I,в смысле со своими особенностями.
gp11.gif



, но отличаться по многим параметрам, поэтому антенна будет a-la RU4I,в смысле со своими особенностями.
Ответить с цитированием






